
| 1 | 80-3401005 | 1 | Привод | |
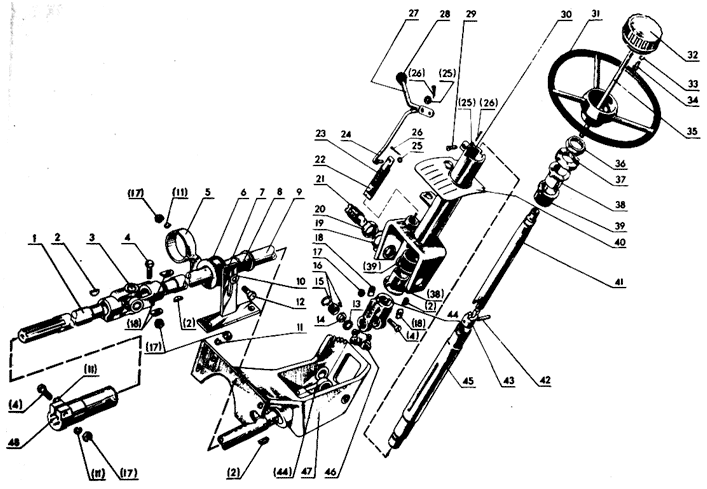
| 2 | 80-3401010 | 1 | Привод рулевого механизма (7, 10, 11, 24-29, 31-35, 48) | |
| 3 | 70-3401050-Б | 1 | Вал (42, 43, 45) | |
| 4 | 70-3401080-В | 1 | Труба (22, 23, 30) | |
| 5 | 70-3401085 | 1 | Рычаг (24-27) | |
| 6 | 80-3401100 | 1 | Корпус (5, 6, 8) | |
| 7 | 1 | 80-3401072 | 1 | Вал |
| 8 | 2 | 4 | Шпонка сегментная 5х10 ГОСТ 8795-68 | |
| 9 | 3 | 50-3401060 | 2 | Кардан |
| 10 | 4 | 5 | Болт М10-6gx40.88.35.019 ГОСТ 7796-70 | |
| 11 | 5 | 80-3401103 | 4 | Хомут |
| 12 | 6 | 80-3401104 | 1 | Амортизатор |
| 13 | 7 | 80-3401105 | 1 | Стойка |
| 14 | 8 | 80-3401106 | 1 | Втулка |
| 15 | 9 | 80-3401052-Б | 1 | Вал |
| 16 | 10 | 12 | Шайба 10.01.019 ГОСТ 11371-78 | |
| 17 | 11 | 6 | Шайба 10 ОТ 65Г 06 ГОСТ 6402-70 | |
| 18 | 12 | 1 | Болт М10-6gx30.88.35.019 ГОСТ 7796-70 | |
| 19 | 13 | 50-3401063 | 8 | Обойма |
| 20 | 14 | 50-3401064 | 8 | Сальник |
| 21 | 15 | 8 | Кольцо Б19 ГОСТ 13943-68 | |
| 22 | 16 | 904700УС17 | 8 | Подшипник |
| 23 | 17 | 5 | Гайка М10-6Н.6.019. ГОСТ 5915-70 | |
| 24 | 18 | 80-3401013 | 8 | Шайба |
| 25 | 19 | 70-3401028 | 2 | Шайба |
| 26 | 20 | 2 | Гайка М27х2-6Н.6.019 ГОСТ 2526-70 | |
| 27 | 21 | 70-3401089 | 2 | Винт |
| 28 | 22 | 70-3401088-Б | 1 | Фиксатор |
| 29 | 23 | 70-3401087 | 1 | Пружина 392 ГОСТ 11371-68 |
| 30 | 24 | 70-3401084 | 1 | Тяга |
| 31 | 25 | 2 | Шайба 6.01.019 ГОСТ 11371-68 | |
| 32 | 26 | 2 | Шплинт 1,6х12.007 ГОСТ 397-66 | |
| 33 | 27 | 70-3401083 | 1 | Рычаг |
| 34 | 28 | 70-3401093 | 1 | Наконечник рычага |
| 35 | 29 | 1 | Палец 6х18 ОСТ 37.001.163-75 | |
| 36 | 30 | 70-3401020 | 1 | Труба |
| 37 | 31 | 66-3402015-02 | 1 | Колесо рулевое |
| 38 | 32 | 70-3401035 | 1 | Головка |
| 39 | 33 | 3 | Шайба 6 ОТ 65Г 06 ГОСТ 6402-70 | |
| 40 | 34 | 3 | Болт М6-6gx12.88.35.019 ГОСТ 7796-70 | |
| 41 | 35 | 70-34011040 | 1 | Пластина |
| 42 | 36 | 70-3401079 | 1 | Контргайка |
| 43 | 37 | 70-3401078 | 1 | Гайка |
| 44 | 38 | 70-3401076 | 2 | Втулка |
| 45 | 39 | 70-3401077-Б | 2 | Амортизатор |
| 46 | 40 | 70-3401094 | 1 | Пластина уплотнительная |
| 47 | 41 | 70-3401074-Б | 1 | Вал рулевой |
| 48 | 42 | 1 | Штифт 8Пр 2х36 ГОСТ 3128-70 | |
| 49 | 43 | 70-3401054-Б | 1 | Хвостик вала |
| 50 | 44 | 50-3401061-А | 4 | Вилка |
| 51 | 45 | 70-3401055 | 1 | Вал промежуточный |
| 52 | 46 | 50-3401062 | 2 | Крестовина |
| 53 | 47 | 70-3401120 | 1 | Кронштейн |
| 54 | 48 | 80-3401070 | 1 | Втулка |
- Трактор МТЗ 80
-
Трактор МТЗ 82 Р
- Подвеска и блок цилиндров
- Головка цилиндров. Клапаны и толкатели клапанов
- Поршень и шатун. Коленчатый вал и маховик
- Распределительный механизм
- Газопровод дизеля
- Установка насоса рулевого управления
- Топливный бак
- Топливные трубопроводы. Установка топливной аппаратуры
- Топливный насос 4УТНМ
- Регулятор топливного насоса
- Подкачивающий насос
- Форсунка ФД-22М
- РТМ-А-23.1.23-72. Фильтр отстойник
- Управление подачей топлива
- Управление подачей топлива (унифицированная кабина)
- Воздухоочиститель
- Моноциклон
- Аварийный остов дизеля
- Фильтр топливный тонкой очистки
- Глушитель
- Водяной радиатор
- Термостаты системы охлаждения
- Водяной насос и вентилятор
- Шторка
- Масляный картер
- Приемник масляного насоса и масляный насос
- Центробежный масляный фильтр
- Масляный радиатор
- Компрессор
- Сцепление
- Корпус сцепления
- Корпус сцепления. Диски. Отводка
- Корпус сцепления. Привод ВОМ
- Корпус сцепления. Понижающий редуктор
- Привод выключения сцепления
- Привод выключения сцепления (унифицированная кабина)
- Коробка передач
- Корпус коробки передач
- Вал первичный. Вал вторичный
- Вал промежуточный
- Вал 1 передачи и заднего хода
- Редуктор
- Механизм переключения передач
- Управление понижающим редуктором
- Раздаточная коробка
- Карданный вал. Промежуточная опора карданного вала
- Ограждение караданного привода
- Передний ведущий мост
- Главная передача переднего ведущего моста
- Редуктор конечной передачи переднего ведущего моста
- Задний мост
- Механизм блокировки дифференциала
- Рама
- Буксирое устройство с автоматом сцепки
- Гидрофицированный прицепной крюк
- Передняя ось
- Колёса передние направляющие
- Колёса задние
- Колёса передние ведущие
- Рулевое управление
- Привод рулевого управления
- Гидроагрегаты и арматура гидроусилителя рулевого управления
- Цилиндр гидроусилителя рулевого управления
- Распределитель гидроусилителя рулевого управления
- Насос шестерёнчатый
- Тормоза
- Стояночно запасной тормоз
- Управление стояночно запасным тормозом. Унифицированная кабина
- Пневмопереходник
- Трубопроводы и арматура пнвмопривода тормозов прицепа
- Регулятор давления
- Баллон
- Кран тормозной
- Головка соединительная
- Электрооборудование МТЗ-80/82
- Электрооборудование МТЗ-80Л
- Электрооборудование МТЗ-80.1/82.1; МТЗ-82Н; МТЗ-82Р;
- Генератор
- Аккумулятоные батареи
- Электрофакельный подогреватель
- Стартёр 24.3708
- Выключатели
- Фары передние
- Фары задние
- Плафон кабины
- Задние фонари
- Фонарь номерного знака
- Электромагнитное реле
- Указатель поворотов
- Стеклоомыватель
- Щиток приборов
- Инструменты и принадлежности
- Аптечка санитарная
- Ящик для инструментов
- Вал отбора мощности задний
- Вал отбора мощности боковой
- Приводной шкив
- Управление задним ВОМ
- Управление задним ВОМ (унифицированная кабина)
- Передние грузы
- Механизм задней навески
- Раскос
- Управление гидроузлами
- Управление гидроузлами (унифицированная кабина)
- Гидроагрегаты и арматура (общий вид)
- Гидроагрегаты и арматура
- Гидроагрегаты и арматура
- Гидроагрегаты и арматура (унифицированная кабина)
- Корпус гидроагрегатов. Фильтр и привод гидронасоса
- Корпус гидроагрегатов. Фильтр
- Гидроувеличитель сцепного веса
- Гидроаккумулятор
- Цилиндр Ц100
- Цилиндр Ц75
- Распределитель
- Насос шестерёнчатый
- Регулятор
- Управление регулятором
- Управление регулятором (унифицированная кабина)
- Разрывная муфта гидроприводов
- Запорное устройство
- Механизм фиксации
- Датчик блокировки. Арматура датчика блокировки.
- Управление блокировкой дифференциала
- Стеклоочиститель
- Стеклоочистители
- Кабина трактора (Общий вид)
- Кабина. Пол кабины
- Кабина трактора. Стёкла. Профили
- Двери кабины
- Унифицированная кабина
- Унифицированная кабина. Пол кабины
- Двери унифицированной кабины
- Сиденье водителя
- Блок отопления
- Отопитель. Унифицированная кабина
- Арматура блока отпления
- Арматура отопителя. Унифицированная кабина
- Зеркало заднего вида
- Козырёк противосолнечный
- Облицовка радиатора. Капот
- Передние и задние крылья. Пол кабины
- Подножка
- Пусковой двигатель
- Кривошипно-шатунный механизм
- Глушитель
- Регулятор пускового двигателя
- Карбюратор пускового двигателя
- Воздухоочиститель пускового двигателя
- Механизм передачи и включения пускового двигателя
- Дистанционное управление пусковым двигателем
- Топливный бак пускового двигателя
- Термостат двигателя Д 155 Л
- Аккумулятоные батареи
- Стартёр СТ 362 пускового двигателя
- Магнето М124Б1
- Передние крылья
- Раздаточная коробка. Привод.
- Колёса передние ведущие
- Передний ведущий мост в сборе. Подножки (Трактор МТЗ 82 Р)
- Бортовой редуктор (Трактор МТЗ 82 Р)
- Механизм задней навеск
- Поручень
- Колёса и ступицы
- Трактор К 700 A
- Трактор К 701
- Трактор Т-170
