| 2 | 2 | | 3 | Шайба 8Т 65Г 06 ГОСТ 4602-70 |
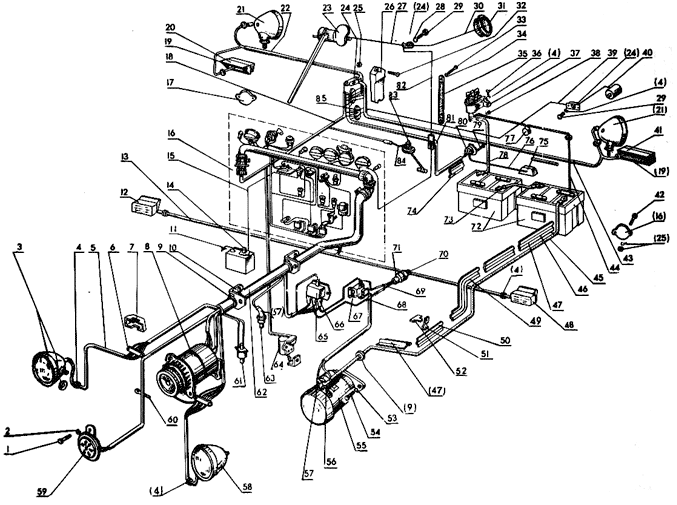
| 3 | 3 | ФГ305.12 | 1 | Фара передняя правая |
| 4 | | 50-3711038 | 2 | Опора фары |
| 5 | 4 | 70-3723042-01 | 4 | Втулка |
| 6 | 5 | 80-3724025В | 2 | Жгут |
| 7 | 6 | 14.3723 | 2 | Панель соединительная |
| 8 | 7 | 70-3723036 | 2 | Крышка панели |
| 10 | 9 | 70-3723042-02 | 2 | Втулка |
| 11 | 10 | 70-3723041 | 2 | Кронштейн |
| 12 | 11 | WN9078(5) | 1 | Провод |
| 13 | 12 | ПФ204 | 1 | Фонарь передний правый |
| 14 | 13 | 80-3724130А | 1 | Жгут |
| 15 | 14 | WN9078(4) | 1 | Бачок |
| 16 | 15 | WN9067(5) | 1 | Провод |
| 17 | 16 | 70-3701020 | 1 | Щиток с приборами |
| 18 | 17 | ФП310-Е | 2 | Световозвращатель |
| 19 | 18 | 70-3724101Б | 1 | Жгут |
| 20 | 19 | 70-3716019 | 2 | Прокладка |
| 21 | 20 | ФП209-Б | 1 | Фонарь тракторный задний правый |
| 22 | 21 | 30.3711 | 2 | Фара задняя |
| 23 | 22 | 70-3724120А | 1 | Жгут правый |
| 24 | 23 | Т241 | 1 | Стеклоочиститель |
| 25 | 24 | 46.3710 | 1 | Выключатель |
| 26 | 25 | | 5 | Гайка М6.6Н.6.019 ГОСТ 5927-70 |
| 27 | 26 | 70-3723034 | 1 | Крышка панели |
| 28 | 27 | 70-3724024-А | 1 | Провод |
| 29 | 28 | | 2 | Шайба 4 65Г 06 ОСТ 37.001.115-74 |
| 30 | 29 | | 2 | Винт М4-6gx18.58.019 ГОСТ 17473-72 |
| 31 | 30 | 70-3724022-Б | 1 | Провод |
| 32 | 31 | ПК201 | 1 | Плафон |
| 33 | 32 | | 1 | Винт М6-6х20.58.019 ГОСТ 17473-72 |
| 34 | 33 | | 1 | Болт М12-6gx25.88.35.019 ГОСТ 7796-70 |
| 35 | 34 | | 1 | Шайба 12Т 65Г 06 ГОСТ 6402-70 |
| 36 | 35 | 80-3724112 | 1 | Перемычка массы |
| 37 | 36 | | 3 | Винт М6-6gх16.59.019 ГОСТ 17796-70 |
| 38 | 37 | ВК318-Б | 1 | Выключатель массы |
| 39 | 38 | | 3 | Гайка М6.6Н.6.019 ГОСТ 5915-70 |
| 40 | 39 | 70-3724023 | 1 | Провод |
| 41 | 40 | 70-3724019 | 1 | Провод |
| 42 | 41 | ФП-209 | 1 | Фонарь тракторный задний левый |
| 43 | 42 | | 5 | Винт М6-6х16.58.019 ГОСТ 17473-72 |
| 44 | 43 | 70-3724120А | 1 | Жгут |
| 45 | 44 | 70-3724018-А | 2 | провод |
| 46 | 45 | 70-3724041 | 1 | Провод |
| 47 | 46 | 70-3723025-01 | 3 | Желоб |
| 48 | 47 | 70-3723025-02 | 1 | Желоб |
| 49 | 48 | ПФ204Б | 1 | Фонарь передний левый |
| 50 | 49 | 70-3723029 | 1 | Желоб |
| 51 | | 70-3723028 | 1 | Желоб |
| 52 | 50 | 70-3723025-03 | 2 | Желоб |
| 53 | 51 | 70-3723027 | 1 | Скоба |
| 54 | 52 | 70-3723033 | 2 | Скоба |
| 55 | 53 | | 3 | Шайба 12 ОТ 65Г.06 ГОСТ 64022-70 |
| 56 | 54 | | 1 | Болт М12-6gx45.88.35.019 ГОСТ 7796-70 |
| 57 | | | 2 | Болт М12-6gx30.88.35.019 ГОСТ 7796-70 |
| 58 | 55 | 24.3708000 | 1 | Стартер |
| 59 | 56 | 4-60 | 1 | Чехол |
| 60 | 57 | 4-16 | 1 | Чехол |
| 61 | 58 | ФГ305.15 | 1 | Фара передняя левая |
| 62 | 59 | СЗ11-Б | 1 | Сигнал звуковой |
| 63 | 60 | 1М80-П10 | 4 | Манжета |
| 64 | 61 | ЭФП-8101500 | 1 | Электрофакельный подогреватель |
| 65 | 62 | 70-3724070 | 1 | Жгут |
| 66 | 63 | ТМ-100В | 1 | Датчик температуры воды |
| 67 | 64 | ВК-854Б | 1 | Выключатель "стоп" |
| 68 | 65 | РБ1 | 1 | Реле блокировки |
| 69 | 66 | 70-3723035 | 4 | Наконечник |
| 70 | 67 | РС-502 | 1 | Реле стартера |
| 71 | 68 | 70-3724040-А | 1 | Жгут |
| 72 | 69 | 70-3724015 | 1 | Жгут |
| 73 | 70 | ВК-403 | 1 | Выключатель |
| 74 | 71 | 50Л-5323022 | 1 | Чехол |
| 75 | 72 | ЗСТ-215ЭР | 2 | Аккумулятор |
| 76 | 73 | 70-3724042 | 1 | Провод |
| 77 | 74 | 70-3723025 | 1 | Желоб |
| 78 | 75 | ФП-200 | 1 | Фонарь освещения номерного знака |
| 79 | 76 | 70-3724028 | 1 | Провод |
| 80 | 77 | 47-К | 1 | Штепсельная розетка |
| 81 | 78 | 50-3724075-Б1 | 1 | Провод |
| 82 | 79 | | 3 | Винт М5-6gх35.58.019 ГОСТ 17475-72 |
| 83 | 80 | Р7-2 | 1 | Штепсельная розетка |
| 84 | 81 | 70-3724110 | 1 | Жгут |
| 85 | 82 | 70-3724026Зфам | 1 | Провод |
| 86 | 83 | ДУМП | 1 | Датчик указателя топлива |
| 87 | 84 | 70-3724132 | 1 | Провод |
| 88 | 85 | 15.3723 | 1 | Панель соединительная |